一、产品说明
本过滤器用于液压系统回油精过滤,滤除液压系统中元件磨损产生的金属颗粒以及密封件的橡胶杂质等污染物,使流回油箱的油保持清洁。
1、本过滤器可直接安装在油箱盖板上,也可以用管子安装。
2、设有滤芯污染堵塞发讯器,及旁通阀,提高液压交流的可靠性,当滤芯被污染物堵塞或系统液温过低,流量脉动等因素造成进油压力为0.35MPa时,发讯器便发出讯号指示,应及时更换滤芯或提高温度,如此时不能马上停机处理这些故障时,设在滤芯上的旁通阀会自动开启(开启压力为0.4MPa)。
3、滤芯采用玻璃纤维材质,具有过滤精度高,通油能力大,原始压力损失小,纳污量大等优点,其过滤精度以过滤精度标定,过滤比β3、5、10、20>200过滤效率n≥百分之99.5符合ISO标准。
二、型号说明

三、技术参数
|
型号 |
公称流量 |
过滤精度 |
通径 |
压力损失(MPa) |
发讯装置 |
重量 |
滤芯型号 |
||
|
初始 |
大 |
(V) |
(A) |
||||||
|
RF-60×*L- |
60 |
1 |
20 |
≦0.07 |
0.35 |
12 24 36 220 |
2.5 2 1.5 0.25 |
0.4 |
HL0060R*BN/HC |
|
RF-110×*L- |
110 |
0.9 |
HL00110R*BN/HC |
||||||
|
RF-160×*L- |
160 |
40 |
1.1 |
HL001600R*BN/HC |
|||||
|
RF-240×*L- |
240 |
1.8 |
HL00240R*BN/HC |
||||||
|
RF-330×*L- |
330 |
50 |
2.3 |
HL00330R*BN/HC |
|||||
|
RF-500×*L- |
500 |
3.2 |
HL00500R*BN/HC |
||||||
|
RF-660×*L- |
660 |
80 |
4.1 |
HL00660R*BN/HC |
|||||
|
RF-850×*L- |
850 |
13 |
HL00850R*BN/HC |
||||||
|
RF-950×*L- |
950 |
90 |
20 |
HL00950R*BN/HC |
|||||
|
RF-1300×*L- |
1300 |
100 |
41.5 |
HL001300R*BN/HC |
|||||
注:*为过滤精度,若使用介质为水—乙二醇,公称流量160L/min,过滤精度10μm,带CYB—I型发讯器,则过滤型号为RF•BH-160×10Y,滤芯型号为HL00160R010BN/HC。
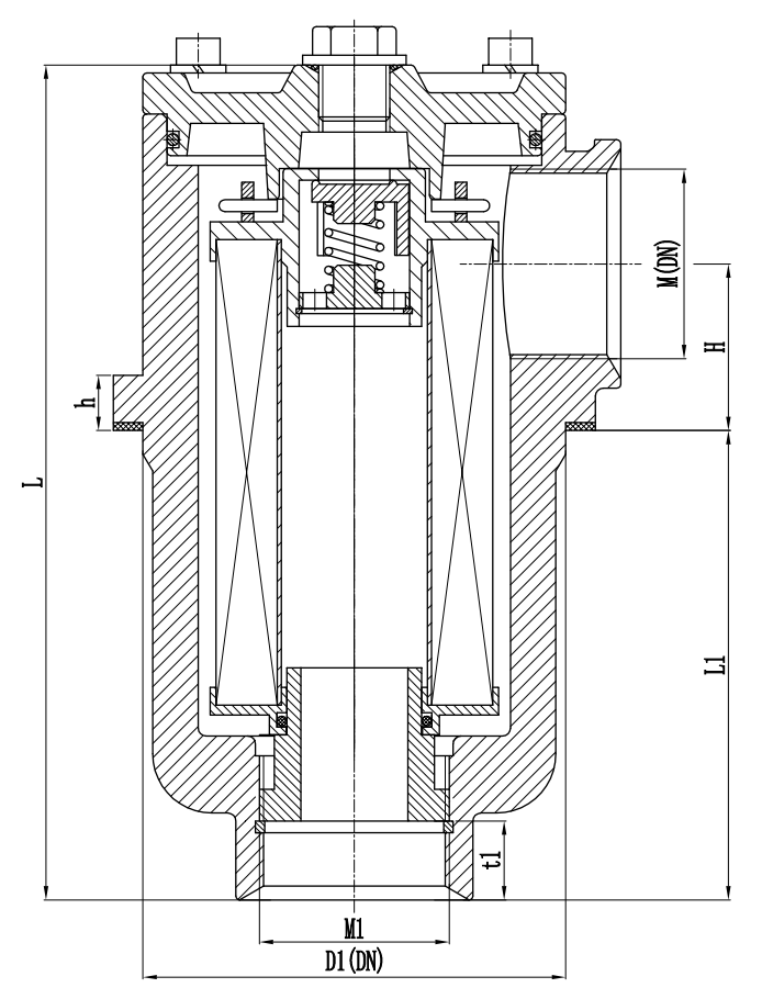
四、外形尺寸


本文网址:http://m.0731safe.cn/chanpin/nongye/yeyaguolv/4.html
关键词:
上一篇:First
下一篇:TF系列箱外自封式吸油过滤器